1、什么是沸騰氯化鎂應力腐蝕試驗?沸騰氯化鎂應力腐蝕試驗的意義?
應力腐蝕開裂是指受定拉伸應力作用的金屬材料在某些特定的介質中,由于腐蝕介質和應力的協同作用而發生的脆性斷裂現象。在有水和硫化氫存在的情況下,一般指與局部腐蝕的陽極過程和拉應力(殘留的和(或)施加的)相關的開裂形式。
沸騰氧化鎂應力腐蝕試驗是指在特定濃度的沸騰氯化鎂溶液中,采用恒負荷拉伸或U型彎曲的加載方式,測定不銹鋼及合金材料的抗蝕能力。沸騰氧化鎂應力腐蝕試驗可以通過不同程度的應力腐蝕開裂敏感性為在含氯水環境中的不銹鋼及合金提供加速試驗方法。通常在熱含氯環境中具有一定抗蝕能力的材料在這個試驗中會出現開裂。此法可用于探究成分、熱處理、表面加工、顯微組織和應力對不銹鋼及合金材料的氯化物應力腐蝕開裂敏感性的影響。
沸騰氧化鎂中的抗應力腐蝕開裂在可能的情況下將與在用材料的抗蝕能力有關,但這種情況并不是一直都會出現。沸騰氧化鎂能導致許多不銹鋼發生孔蝕。這將可能導致伴隨由于耐蝕凈截面積減小而造成機械性能失效的應力腐蝕失效原因多樣化。當使用小截面試樣、高許用應力、長暴露周期的抗應力腐蝕合金或具有以上特點的材料時,這種影響更大。為了正確評估失效原因要進行嚴格的測試與檢驗。
2、沸騰氯化鎂應力腐蝕試驗測試標準有哪些?
YB/T 5362-2006銹鋼在沸騰氯化鎂溶液中應力腐蝕試驗方法
ASTM G36-1994(2013)評定在沸騰的氯化鎂溶液中金屬及其合金的抗應力腐蝕斷裂
GB/T 17898-1999不銹鋼在沸騰氯化鎂溶液中應力腐蝕試驗方法(已作廢)
3、沸騰氯化鎂應力腐蝕試驗測試要點總結
(1)YB/T 5362-2006銹鋼在沸騰氯化鎂溶液中應力腐蝕試驗方法
適用范圍:本標準規定了不銹鋼在恒負荷拉伸,U型彎曲試驗條件下試樣制備和要求、試驗儀器和設備、試驗條件和步驟及試驗報告;適用于評價不銹鋼在沸騰氯化鎂溶液中應力腐蝕敏感性。
試樣加載方式:恒負荷拉伸、U型彎曲
試驗溶液:在常溫下,PH3~7、氯化鎂20%水溶液;沸點為143℃±1℃,氯化鎂濃度為42%;沸點為155℃±1℃,氯化鎂濃度為45%
試樣要求:恒負荷拉伸 板狀:30mm*3mm*2mm或30mm*5mm*4mm,棒狀,φ3mm*30mm或φ5mm*30mm;U型彎曲 板狀:75mm*(10mm或15mm)*(1~3mm);每次3個試樣
試驗設備:拉伸試驗機、試驗容器、加熱裝置
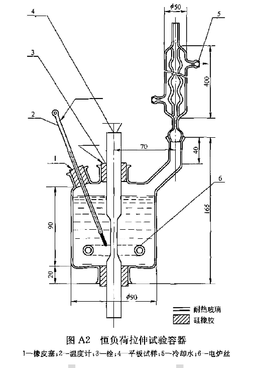
圖A1和圖A2分別為U型彎試驗容器和恒負荷拉伸試驗容器


試驗結果表示:破斷時間(h)、宏觀裂紋發生時間(h)、裂紋貫穿時間(h)
(2)ASTM G36-1994(2013)評定在沸騰的氯化鎂溶液中金屬及其合金的抗應力腐蝕斷裂
試樣方法概述:1)將預定的試劑級質量的氯化鎂和一些蒸餾水加入一個容器中。含有試劑的容器裝上溫度計和冷凝器,放置在熱源上加熱。當氯化鎂溶液沸騰時通過添加少量水或鹽調整以維持規定的濃度和沸點。2)溶液已穩定在試驗要求的沸點后,加入應受力的試樣。根據試驗示意圖,試樣要周期性檢齊。如果試驗過程超過7天,溶液要更換或建議采用相似的試驗裝置。
試驗溶液:MgCl2·6H2O+蒸餾水
試驗溫度:155℃±1℃
試驗裝置:燒瓶、冷凝器、凝氣管、溫度計、接口器等。
試驗裝置示意圖如下:

試驗結果表示;裂紋初次出現時間、裂紋增長速率、開裂時間
Copyright ? 2017-2024 江蘇隱石實驗科技有限公司 All Rights Reserved 備案號:蘇ICP備2021030923號-2
蘇公網安備32020502001473 技術支持:迅誠科技